
新聞中心
模數轉換器(ADC),是現實世界模擬信號與能被MCU處理與存儲的數字信號之間的橋梁,是電子技術發展的不可或缺的組成部分,在不同的環境下需使用不同的結構類型的ADC,以使功耗、速率、分辨率、芯片面積等實現最優化。表1對比了幾種常見結構ADC的速度、分辨率和功耗情況以及各自的應用領域。
表1 常見ADC的結構與特點
| 結構 | 轉換速度 | 分辨率 | 功耗 | 典型應用 |
| 快閃式(Flash) | 250M~6GHz | ≤8bit | 高 | 通信、雷達、高速數據讀取 |
| 折疊式(Folded) | 50M~500MHz | ≤10bit | 高 | 數據通信等 |
| 流水線型(Pipeline) | 1M~200MHz | 8~14bit | 中等 | 數據通信,視頻等 |
| 逐次逼近型(SAR) | 50k~20MHz | 10~16bit | 低 | 音頻、自動控制、儀表等 |
| 過采樣型(Σ-Δ) | 20k~20MHz | ≥16bit | 中等 | 音頻、通信、精密測試等 |
其中,流水線型模數轉換器能在較低的功耗和較小的面積下實現較高的速度、較高分辨精度,同時便于系統集成。流水線模數轉換器的轉換速率可以達到200MSPs以上,分辨率可以達到14bit,在視頻領域應用非常廣泛。
什么是流水線ADC?
流水線ADC,英文釋義為pipeline ADC,就是利用流水線信號處理的思路發展起來的,流水線是快速大量處理某項任務的一種方法,當采用流水線的概念流程完成一項任務時,該任務被分成若干個步驟,每一步驟需要大約相等的時間來執行,每一步需要一個執行器來完成。這若干個步驟組成一個隊列,對于每一個要生產的產品或者要處理的采樣數據,這些步驟都要按順序來執行。當執行器1完成了步驟1后,它把產品或者采樣數據送到流水線中的執行器2來進行步驟2,此時執行器1開始對下一個產品或者采樣數據執行步驟1;這樣各個不同的處理步驟可以同時進行,這在信號處理系統中,極大地提高了采樣處理的速率。
流水線結構ADC的工作示意圖如圖1所示,在流水線ADC中,輸入信號經過采樣之后,順序地沿著流水線移動,一步一步地進行數字轉換,每一步轉換得到一定數量的數字輸出位,最高有效位最先得到,最低有效位最后得到。

圖1 流水線結構ADC工作示意圖
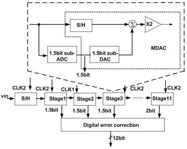
它實質上是一個多級幅值量化器,它的數字化過程由級聯的多個結構相似的低精度模數轉換器完成。它的主要優點在于:第一,流水線結構中各級處于并行工作狀態,提高了轉換速率;第二,與全并行結構ADC相比極大地節約了芯片面積并降低了功耗,例如一個N-bit的并行結構的ADC,需2的N次方減1個比較器,若為10bit的全并行ADC,則需要高達1023個比較器,而以1.5bit每級的流水線結構為例,僅需21個比較器,一種1.5bit每級的12bit高速pipeline ADC的結構如圖2所示。

圖2 12bit高速流水線ADC原理圖
湘潭芯力特電子科技有限公司(簡稱芯力特公司)是一家專業從事混合信號集成電路設計的高科技企業,有專業的ADC設計團隊,全面考慮各種非理想因素對ADC性能帶來的影響,可以為客戶定制性能優異、多種類型的ADC。公司圍繞智慧電網等物聯網致力于相關芯片技術攻關,采用靈活的商務模式提供專門的人力、物力進行技術服務與產品的定制設計,以滿足客戶的專用型需求,以一站式的服務達到客戶與自身雙贏的目的。
芯力特公司有非常優秀的AD/DA設計能力,在硅片上成功研發過多種AD,DA芯片與IP:
1)高精度高速10bit 100MHz pipeline/12bit 60MHz pipeline的ADC,已經在0.18um/0.13um CMOS工藝驗證;
2)高精度低速低功耗12bit 4MHz SAR ADC,已經在0.18um CMOS工藝驗證;
3)高精度低速的sigma-delta ADC,從14-24bit,已經在0.5um/0.35um/0.18um CMOS工藝驗證;
4)極高速的200MHz 6-8bit flash ADC,已經在0.18um/0.13um CMOS工藝驗證;
5) 8/10/12bitDAC,已經在0.35um/0.25um/0.18um/0.13umCMOS工藝驗證。
聯系方式:
聯系人:張文杰
電話:18502537108
Email:zwj@sitcores.com
網址:www.nsicindia.com
長按二維碼關注“芯力特”微信號

地址:湖南省長沙高新開發區尖山路39號中電軟件園總部大樓
上海:上海市浦東新區豪威科技園區上科路88號
深圳:深圳市南山區科技園高新南七道1號粵美特大廈24樓
業務:15074991500(華東區),13647318510(華南區),13600008459(北西區)
服務:service@sitcores.com
招聘:tinachen@sitcores.com
Copyright ? 2020 湖南芯力特電子科技有限公司 湘ICP備2022017381號